
據金融界2025年5月23日消息,國家知識產權局信息顯示,河南省大方重型機器有限公司取得一項名為“一種起重機用折疊式安全護欄”的專利,授權公告號CN222892924U,申請日期為2024年07月。
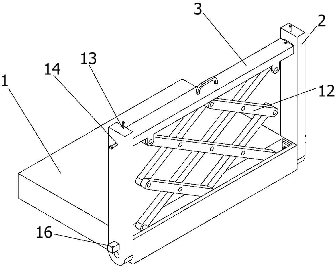
專zhuan利li摘zhai要yao顯xian示shi,本ben實shi用yong新xin型xing公gong開kai了le一yi種zhong起qi重zhong機ji用yong折zhe疊die式shi安an全quan護hu欄lan,涉she及ji起qi重zhong機ji設she備bei相xiang關guan技ji術shu領ling域yu,具ju體ti為wei一yi種zhong起qi重zhong機ji用yong折zhe疊die式shi安an全quan護hu欄lan,包bao括kuo底di座zuo、lizhuhehenggan,dizuodeliangcekaisheyouaocao,dizuodeyicetongguozhuanzhouhuodonglianjieyoulizhu,lizhudeyicekaisheyoudiyihuacao,diyihuacaodeneibuhuadonglianjieyouhuakuai,henggandeshangbiaomiangudinglianjieyoubashou,henggandeshangbiaomiankaisheyoulianggetongkong,henggandeliangcekaisheyoudierhuacao,dierhuacaodeneibuhuadonglianjieyouhuakuai,huakuaideshangbiaomiankaisheyoudisanhuacao,disanhuacaohuodonglianjieyoudandingjigou。tongguoshengjiangjigoudeshezhi,shigaiqizhongjiyongzhedieshianquanhulanjubeilezhediedexiaoguo,tongguolizhuhehenggandepeiheshezhi,bimianlezaixiaxiaokongjianzuoyeshilanganyinweipengzhuangersunhuai,jianshaolelanganxuyaoanchaidezuoye,caozuojiandananquan。

手機版|
關注公眾號|

下載手機APP


