高速公路工程建設,材料是成本占比非常大的部分;而(er)無(wu)論(lun)何(he)種(zhong)設(she)計(ji)方(fang)案(an),砂(sha)石(shi)料(liao)都(dou)是(shi)不(bu)可(ke)或(huo)缺(que)的(de)主(zhu)要(yao)材(cai)料(liao),在(zai)全(quan)部(bu)材(cai)料(liao)中(zhong)用(yong)量(liang)非(fei)常(chang)大(da)。砂(sha)石(shi)料(liao)屬(shu)於(yu)典(dian)型(xing)的(de)地(di)方(fang)材(cai)料(liao),帶(dai)有(you)強(qiang)烈(lie)的(de)地(di)方(fang)屬(shu)性(xing),不(bu)適(shi)於(yu)遠(yuan)程(cheng)運(yun)輸(shu),應(ying)盡(jin)可(ke)能(neng)就(jiu)近(jin)生(sheng)產(chan)和(he)供(gong)應(ying)。所(suo)以(yi)在(zai)工(gong)程(cheng)施(shi)工(gong)組(zu)織(zhi)設(she)計(ji)時(shi),砂(sha)石(shi)料(liao)場(chang)的(de)規(gui)劃(hua)選(xuan)擇(ze)是(shi)重(zhong)中(zhong)之(zhi)重(zhong)。
在某些地方,由於地方經濟及周邊地材市場較不發達,地方砂石料場設備配置、產量質量等無法滿足高速公路建設質量高、數shu量liang大da的de需xu求qiu,隻zhi能neng依yi托tuo工gong程cheng周zhou邊bian山shan體ti自zi建jian砂sha石shi料liao場chang來lai滿man足zu工gong程cheng需xu求qiu,方fang能neng保bao質zhi保bao量liang完wan成cheng工gong程cheng建jian設she。本ben文wen分fen享xiang高gao速su公gong路lu項xiang目mu自zi建jian料liao場chang的de選xuan址zhi、場地建設、設備配置等。
01自建砂石料場選址原則及要求
自采砂石料場選擇需本著“合理規劃、有利施工、降低浪費、安全環保、文明施工、節能高效”的總體原則。項目需對工程周邊進行詳細周密的實際考察,結合建設方要求、國家環保政策、工程量清單和實際情況對自建砂石料場進行科學的選址、合理的規劃、精心的建設。對於需求數量大、要求標準高、建設周期長的項目可以按照專業規範、統(tong)一(yi)集(ji)約(yue)的(de)高(gao)標(biao)準(zhun)建(jian)設(she)。自(zi)建(jian)砂(sha)石(shi)料(liao)場(chang)僅(jin)用(yong)於(yu)高(gao)速(su)公(gong)路(lu)工(gong)程(cheng)建(jian)設(she)用(yong)料(liao),不(bu)對(dui)外(wai)銷(xiao)售(shou),工(gong)程(cheng)竣(jun)工(gong)後(hou)應(ying)停(ting)止(zhi)開(kai)采(cai)及(ji)加(jia)工(gong)。選(xuan)址(zhi)的(de)具(ju)體(ti)要(yao)求(qiu)如(ru)下(xia):
(1)石料場選址以滿足建設項目砂石料需求為前提,山體岩性及原石抗壓強度應滿足質量要求;可開采儲量應滿足數量要求;距離施工現場的運距應合適,不宜過遠。
(2)需參照科學合理、工藝先進與經濟實用相結合的原則。
(3)山體選擇時應綜合考慮安全、環保、交通等各方麵條件,嚴禁占用重量級公益林,擬選的山體需易於開采。不能選在有泛洪、易滑坡、崩塌、衝溝、泥石流風險的地段。
(4)土(tu)地(di)是(shi)不(bu)可(ke)再(zai)生(sheng)資(zi)源(yuan),嚴(yan)禁(jin)占(zhan)用(yong)基(ji)本(ben)農(nong)田(tian)。料(liao)場(chang)土(tu)地(di)征(zheng)用(yong)時(shi)在(zai)滿(man)足(zu)工(gong)程(cheng)需(xu)要(yao)的(de)前(qian)提(ti)下(xia)應(ying)盡(jin)量(liang)減(jian)少(shao)土(tu)地(di)占(zhan)用(yong),節(jie)約(yue)施(shi)工(gong)用(yong)地(di),杜(du)絕(jue)土(tu)地(di)浪(lang)費(fei)。
(5)臨時設施的建設滿足建設項目施工條件即可,要易於拆除及轉運,方便工程結束後的土地恢複工作。
(6)場地建設應符合施工現場防排水規範要求和環境衛生的要求,需滿足建設方相關安全生產、文明施工的要求。
02自建砂石料場的場地建設
自建砂石料場的場地需按照功能不同進行分區規劃建設,主要可分為生活區、辦公區、試驗區、毛石開采區、毛石分揀區、集料加工區、成品料堆放區、廢料及表土存放區等。場地建設時需充分考慮以下因素:
(1)因yin自zi建jian砂sha石shi料liao場chang需xu要yao爆bao破po施shi工gong及ji機ji械xie作zuo業ye,需xu保bao留liu一yi定ding的de安an全quan距ju離li。場chang地di應ying設she置zhi在zai正zheng通tong行xing的de縣xian級ji以yi上shang道dao路lu的de可ke視shi範fan圍wei之zhi外wai,離li居ju民min生sheng活huo區qu、學校等環境敏感距離>300m,區域內無大型電力、通信設施及國防設備。
(2)自建砂石料場的場地麵積需滿足日常生產、儲存、成品料裝車轉運、設備維修等需求。
(3)毛石堆放場地、生產設備架設區域、成品料堆放區等場區道路需壓實,並對軟弱土基做換填處理。壓實後可利用廢石渣或碎石墊層,厚度≥20cm;然後用≥20cm厚C20水泥混凝土硬化處理;場區運輸道路應充分考慮雙向通行需要,寬度宜≥8m。
(4)整體場地建設應充分考慮排水問題,應具有橫坡≥1.5%的坡度,按照中心高、四(si)周(zhou)低(di)的(de)原(yuan)則(ze)建(jian)設(she)。場(chang)地(di)四(si)周(zhou)要(yao)根(gen)據(ju)原(yuan)地(di)貌(mao)地(di)形(xing)合(he)理(li)設(she)置(zhi)排(pai)水(shui)設(she)施(shi),提(ti)前(qian)預(yu)埋(mai)排(pai)水(shui)管(guan)道(dao)。場(chang)地(di)入(ru)口(kou)處(chu)可(ke)根(gen)據(ju)水(shui)資(zi)源(yuan)情(qing)況(kuang)設(she)置(zhi)洗(xi)車(che)設(she)備(bei)及(ji)三(san)級(ji)汙(wu)水(shui)沉(chen)澱(dian)池(chi)。
(5)路基及路麵基層成品集料堆料倉應≥4個,路麵瀝青麵層成品集料堆料倉應≥5ge。gechengpinliaocangdechicunshejishiyingzonghekaolvshigongpeihebizhonggedangliaodeyongliangyushijichanlianglaijutiqueding,xumanzuzhishaokecunchudangtianshengchandechengpinsuishideyaoqiu。lujixiangmumeigeliaocangchuliangyi≥250m³,路麵項目宜≥400m³。
(6)堆料倉排水橫坡應≥1.5%,堆料倉地麵內高外低形成向外側的排水橫坡,內牆外側下部預留孔洞,以便於排水。
(7)堆料倉頂麵、背麵、側麵應采用帶窗輕型鋼結構大棚進行封閉處理,淨空高度建議≥9m。為保證安全,大棚立柱直徑≥160mm,每跨橫向距離≤30m,縱向距離≤6m,並具有防風、防塵、防雨、抗雪壓等功能。兩跨大棚中間大棚凹接處需設置排水孔,然後利用PVC排水管將雨水引入排水溝。大棚下方可懸掛質量安全等方麵的宣傳標語。

03自建砂石料場設備配置及生產工藝要求
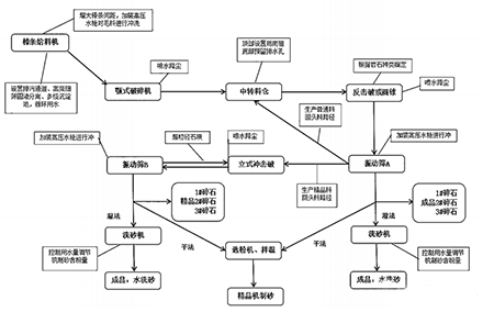
(1)高(gao)速(su)公(gong)路(lu)工(gong)程(cheng)對(dui)砂(sha)石(shi)料(liao)質(zhi)量(liang)要(yao)求(qiu)標(biao)準(zhun)較(jiao)高(gao),特(te)別(bie)是(shi)高(gao)標(biao)號(hao)混(hun)凝(ning)土(tu)和(he)瀝(li)青(qing)路(lu)麵(mian)用(yong)料(liao)。自(zi)建(jian)砂(sha)石(shi)料(liao)場(chang)生(sheng)產(chan)工(gong)藝(yi)需(xu)采(cai)用(yong)三(san)級(ji)破(po)碎(sui)工(gong)藝(yi)方(fang)能(neng)滿(man)足(zu)路(lu)麵(mian)瀝(li)青(qing)所(suo)用(yong)集(ji)料(liao)的(de)要(yao)求(qiu)。三(san)級(ji)破(po)碎(sui)設(she)備(bei)應(ying)根(gen)據(ju)開(kai)采(cai)山(shan)體(ti)的(de)岩(yan)性(xing)具(ju)體(ti)配(pei)置(zhi),一(yi)般(ban)較(jiao)為(wei)常(chang)見(jian)的(de)石(shi)灰(hui)岩(yan)生(sheng)產(chan)設(she)備(bei)配(pei)置(zhi)為(wei):一破為1台顎式破碎機,中碎為1~3台反擊式破碎機,細碎為1台衝擊式破碎機+除塵設備。對於花崗岩、玄武岩等硬度較大的石料,其設備配置一般為:顎式破碎機+中碎為1~2台圓錐機+細碎為1~3台反擊破/整形機,然後采取水洗工藝降低粉塵含量。
(2)為保障集料供應穩定,高標號混凝土及瀝青上麵層用細集料應采用獨立製砂機生產線,用碎石成品料為原材料單獨加工。
(3)集(ji)料(liao)加(jia)工(gong)的(de)技(ji)術(shu)指(zhi)標(biao)應(ying)符(fu)合(he)我(wo)國(guo)現(xian)行(xing)業(ye)規(gui)範(fan)和(he)相(xiang)關(guan)標(biao)準(zhun)化(hua)文(wen)件(jian)技(ji)術(shu)要(yao)求(qiu)及(ji)高(gao)速(su)公(gong)路(lu)工(gong)程(cheng)各(ge)結(jie)構(gou)層(ceng)的(de)要(yao)求(qiu)。應(ying)根(gen)據(ju)各(ge)檔(dang)成(cheng)品(pin)料(liao)級(ji)配(pei)及(ji)通(tong)過(guo)率(lv)要(yao)求(qiu),結(jie)合(he)設(she)備(bei)產(chan)量(liang)、山體岩性、振動篩尺寸角度與振幅,合理、科學、準確地配置篩網尺寸。必要時,篩網可以采用拚篩技術,即同一檔石料的篩網由篩孔尺寸相近的不同篩網拚接而成。
(4)集料加工場應建立簡易試驗室,配置電子天平、烘箱、搖篩機、方孔篩、遊標卡尺等試驗檢測設備,配備一名試驗員,對集料針片狀含量、粉塵含量、級配、集料篩分等技術指標每天進行自檢。對不合格的碎石成品料堅決清理出場,嚴禁使用。
(5)應配備必要的施工機械,220以上挖機1~3台,50裝載機1~2台,30t運輸車輛4~8台。
(6)自建砂石料場需要建立健全安全環保及文明施工管理體係,嚴格遵守國家相關安全、環保法律法規,健全崗位責任製,一崗雙責;從組織上、製度上、防範措施上保障安全生產、減少環境汙染,堅持文明施工。
高速公路建設項目砼用砂石料品質要求較高、用料期集中、工期短,用料點分散、各生產點投入預算有限,為保證工程質量和建設效果,需要嚴格管控每一個環節。作者: 西芝文案 來源:網絡
手機版|
關注公眾號|

下載手機APP


